Motorized Rotating Crane Hook,Overhead Rotating Crane Hook

Motorized Rotating Crane Hook,Overhead Rotating Crane Hook

Motorized rotating crane hooks is an overhead crane hook designed for precise, automated rotation and positioning of heavy loads for improved efficiency.

ApplicationMaterial handling, lifting, positioning, assembly, maintenance, loading/unloading,
CertificationsCE / ISO / SGS / Other third-party inspection
CustomizationCustomized material handling cranes solutions available for indoor, outdoor, hazardous, corrosive, cleanroom, and heavy-duty industrial applications.

Category: Below Hook Devices

Tags: craneparts

Content Quick Link

Your Trusted Overhead Crane Manufacturer & Supplier

Motorized Rotating Crane Hook, Overhead Rotating Crane Hook
Crane Rotary Hooks: A Comprehensive Guide to Efficiency, Safety, and Innovation in Overhead Rotating Crane Hooks

Motorized rotating crane hook is an overhead crane hook designed for precise, automated rotation and positioning of heavy loads for improved efficiency.

Electric rotating crane hooks are usually made of steel materials and are strong and durable. Its main components include hook body, motor, brake, bearing, etc. The hook body is the load-bearing part of the lifting object. It is usually made of alloy steel and has high strength and wear resistance. The electric motor is connected to the hook body through a transmission device, which can realize the rotation function of the hook body. The brake is used to control the stopping and fixation of the hook body to ensure safety during the lifting process. The bearing plays a role in supporting and reducing friction, allowing the hook body to rotate smoothly.

Efficiency and Safety of Crane Rotary Hooks

Crane rotary hooks are fundamental components of overhead crane systems, responsible for lifting and moving heavy loads. They work by securely attaching to the load and then lifting it using the crane's hoisting mechanism. As the crane operates, the rotary hook rotates, allowing for the controlled movement of the load.

The significance of crane rotary hooks cannot be overstated. They form the critical link between the crane and the load, facilitating safe and efficient lifting and movement. Without properly functioning hooks, crane operations would grind to a halt, causing delays, inefficiencies, and potential safety hazards.

The evolution of crane rotary hooks traces back centuries, paralleling the advancements in construction and manufacturing. Early iterations of crane hooks were rudimentary, often made from wood or primitive metals. However, as technology progressed, so did the design and construction of crane hooks, leading to the robust and reliable components we rely on today.

From the simple hooks of ancient civilizations to the sophisticated rotary hooks of modern cranes, the historical journey showcases the relentless pursuit of efficiency and safety in lifting operations.

In summary, crane rotary hooks serve as the unsung heroes of crane operations, enabling the efficient and safe movement of heavy loads. Understanding their definition, function, importance, and historical evolution lays the foundation for mastering their usage in various industries. In the subsequent sections, we'll delve deeper into the anatomy, mechanics, applications, and maintenance of crane rotary hooks, unlocking insights to optimize crane operations for enhanced efficiency and safety.

Components and Construction of Crane Rotary Hooks

Main Components

  • Hook Body: The hook body forms the primary structure of the rotary hook, serving as the anchor point for attaching the load. It is typically designed with a sturdy and ergonomic shape to ensure optimal weight distribution and load-bearing capacity.
  • Bearing Assembly: The bearing assembly consists of bearings and races that allow the hook to rotate smoothly during lifting operations. These components are crucial for reducing friction and wear, enabling efficient and reliable rotation of the hook under load.
  • Safety Latch: The safety latch is a vital safety feature designed to prevent accidental disengagement of the load from the hook. It typically comprises a locking mechanism that securely fastens the latch in place, ensuring the load remains safely attached during lifting and movement.
  • Sheave Assembly: The sheave assembly, also known as the pulley assembly, is responsible for guiding the wire rope or chain as it wraps around the hook during lifting operations. It consists of one or more sheaves mounted on bearings, providing smooth and controlled movement of the lifting mechanism.
Cutomized electric motorized rotary crane hook for sale

Materials and Construction

  • Steel Alloys: Crane rotary hooks are predominantly manufactured using high-strength steel alloys known for their durability and load-bearing capabilities. These alloys are chosen for their ability to withstand heavy loads and harsh operating conditions encountered in industrial settings.
  • Heat Treatment: After shaping, the components undergo heat treatment processes such as quenching and tempering to enhance their mechanical properties. Heat treatment helps improve the hardness, strength, and toughness of the materials, ensuring they can withstand the rigors of crane operations.
  • Manufacturing Processes: The manufacturing of crane rotary hooks involves precision machining and assembly processes to ensure the highest quality and reliability. Advanced machining techniques, such as CNC machining, are employed to achieve tight tolerances and optimal performance. Additionally, stringent quality control measures are implemented throughout the manufacturing process to verify the integrity and safety of the finished hooks.

In summary, the components and construction of crane rotary hooks are meticulously engineered to withstand the demands of heavy lifting operations while prioritizing safety and reliability. By understanding the intricacies of these components and the materials and processes involved in their construction, crane operators can ensure the smooth and efficient functioning of their overhead crane systems.

In-Depth Features of Overhead Rotary Crane Hooks

Overhead rotary crane hooks are designed with advanced features to enhance their performance, reliability, and ease of maintenance. Here's a detailed look at some of the key features:

  • Sheave Pin Includes Lubrication Fittings: The sheave pin in rotary crane hooks is equipped with lubrication fittings, allowing for easy and effective lubrication of the pin and sheave assembly. This feature ensures that the sheave operates smoothly, reducing friction and wear, and extending the lifespan of the components. Regular lubrication also helps prevent corrosion and seizing, maintaining optimal performance.
  • External Lubrication on Heavy-Duty Thrust Bearing: Heavy-duty thrust bearings in rotary crane hooks are designed with external lubrication points, making it convenient to apply lubricant without disassembling the hook assembly. This feature is crucial for maintaining the smooth rotation and load-bearing capacity of the hook, especially under heavy loads. External lubrication helps in keeping the bearings in good condition, reducing downtime and maintenance efforts.
  • Heavy-Duty Worm Gear Reducer: The inclusion of a heavy-duty worm gear reducer in rotary crane hooks provides a robust mechanism for controlling the rotation of the hook. Worm gear reducers are known for their high torque output and precise control, making them ideal for lifting and positioning heavy loads. This feature ensures smooth and controlled rotation, enhancing the safety and efficiency of crane operations.
  • Drive Protection Includes Slip Clutch: Rotary crane hooks are equipped with a slip clutch to protect the drive mechanism. The slip clutch acts as a safety feature that prevents overloading and potential damage to the gear system by slipping when the load exceeds a certain threshold. This protection helps in safeguarding the crane and hook assembly from excessive stress and mechanical failure, ensuring safe operation.
  • Designed for Ease of Maintenance: Ease of maintenance is a critical design feature in rotary crane hooks. Components such as lubrication fittings, external lubrication points, and accessible design elements ensure that regular maintenance tasks can be performed quickly and efficiently. This feature minimizes downtime and labor costs associated with maintenance, allowing for more consistent and reliable crane operations.
  • 360-Degree Continuous Rotation: The ability to rotate 360 degrees continuously is a significant advantage of rotary crane hooks. This feature provides unparalleled flexibility in positioning and maneuvering loads, making it easier to handle complex lifting tasks. Continuous rotation eliminates the need for repositioning the crane or the load, enhancing operational efficiency and reducing the time required for lifting and moving materials.

In summary, these advanced features of overhead rotary crane hooks are designed to improve operational efficiency, safety, and ease of maintenance. By incorporating lubrication fittings, external lubrication points, heavy-duty gear reducers, drive protection mechanisms, maintenance-friendly designs, and continuous rotation capabilities, these hooks provide a robust and reliable solution for various industrial lifting applications.

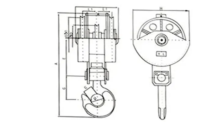
Parameters of Rotary Crane Hooks


Rated Load

Size(mm)

Wire Rope

Dia.(mm)

Dead Weight

(kg)

A

B

H

øD

3.2T

575

341

426

300

11-14

80

5T

715

341

426

350

11-14

100

10T

1080

370

526

250

11-14

200

16T

1330

500

660

310

14-20

330

20T

1415

515

653

500

16-20

460

32T

1740

620

780

610

18-22

845

50T

1965

830

815

610

20-22

1500

75T

2335

970

1012

500

26-32

2500

100T

3130

1360

1162

800

28-34

4200

200T

3548

1617

1090

900

30-38

9100

3.2 ton rotatry crane hook

3.2 ton rotatry crane hook 

5 ton crane hook with motorized design

5 ton crane hook with motorized design 

Customized electric motorized rotatry crane hook 10 ton

Customized electric motorized rotatry crane hook 10 ton 

Customized electric motorized rotatry crane hook 16 ton drawing

Customized electric motorized rotatry crane hook 16 ton drawing 

Types of Crane Rotary Hooks

Single Sheave Hooks:

Single sheave hooks are the simplest form of crane rotary hooks, featuring a single pulley or sheave for guiding the lifting mechanism. They are commonly used in light to moderate lifting applications where simplicity and cost-effectiveness are paramount. Single sheave hooks offer straightforward operation and are suitable for a wide range of crane configurations.

Double Sheave Hooks:

Double sheave hooks, as the name suggests, incorporate two pulleys or sheaves into their design. This configuration allows for increased mechanical advantage and load capacity compared to single sheave hooks. Double sheave hooks are often employed in heavy-duty lifting operations where higher lifting capacities are required. They provide enhanced stability and control, making them ideal for handling larger loads with precision and safety.

Specialized Hooks for Various Crane Configurations:

In addition to single and double sheave hooks, there are specialized hooks designed to accommodate specific crane configurations and lifting requirements. These include:

  • Swivel Hooks: Equipped with a swivel mechanism, these hooks allow for greater flexibility in load positioning and orientation.
  • Bottom Blocks: Designed for use in overhead cranes with multiple part reeving systems, bottom blocks feature multiple sheaves arranged in a block configuration to distribute load evenly.
  • Engineered Hooks: Custom-designed hooks tailored to unique lifting challenges, such as handling irregularly shaped loads or operating in confined spaces.

Comparison of Different Types:

When choosing between different types of crane rotary hooks, several factors must be considered, including lifting capacity, operational requirements, and budget constraints. Single sheave hooks offer simplicity and affordability, making them suitable for light to moderate lifting tasks. Double sheave hooks provide increased load capacity and stability, making them ideal for heavy-duty applications. Specialized hooks cater to specific crane configurations and lifting challenges, offering tailored solutions for unique operational needs.

In summary, the variety of crane rotary hooks available allows operators to select the most suitable option for their specific lifting requirements. Whether it's a single sheave hook for basic lifting tasks or a specialized hook for complex operations, understanding the different types empowers operators to optimize efficiency and safety in their crane operations.

Operating Principles and Mechanics

  • Load Capacity and Working Load Limits: The load capacity of a crane rotary hook refers to the maximum weight it can safely lift and transport. This capacity is determined by factors such as the material strength of the hook, its design, and the crane's overall configuration. Working load limits (WLL) are established to ensure safe operation and prevent overloading, considering various factors such as dynamic loading, environmental conditions, and the angle of the load.
  • Load Dynamics: Load dynamics refer to the behavior of the load during lifting and movement operations. Factors such as acceleration, deceleration, and changes in direction can affect the stability and control of the load. Understanding load dynamics is essential for crane operators to anticipate and mitigate potential risks, ensuring smooth and safe lifting operations.
  • Load Distribution: Proper load distribution is critical for maintaining stability and preventing overloading of crane components. The load should be evenly distributed across the hook and lifting mechanism to avoid stress concentrations and potential failure points. Crane operators must consider factors such as the center of gravity of the load, sling angles, and rigging configurations to achieve optimal load distribution and balance.
  • Friction and Wear Considerations: Friction between the hook and the lifting mechanism can affect the efficiency and safety of crane operations. Excessive friction can lead to increased wear and tear on components, reducing their lifespan and potentially compromising safety. Proper lubrication and maintenance are essential for minimizing friction and preventing premature wear, ensuring smooth and reliable operation of the crane rotary hook.
  • Safety Features and Regulations: Crane rotary hooks are equipped with various safety features to prevent accidents and ensure compliance with industry regulations. These may include safety latches to secure the load, overload protection systems to prevent overloading, and visual indicators to alert operators of potential hazards. Additionally, regulatory standards such as OSHA (Occupational Safety and Health Administration) and ANSI (American National Standards Institute) provide guidelines for the safe design, operation, and maintenance of crane equipment, ensuring the protection of workers and property.

In summary, understanding the operating principles and mechanics of crane rotary hooks is essential for ensuring safe and efficient lifting operations. By considering factors such as load capacity, dynamics, distribution, friction, and safety features, crane operators can optimize performance and minimize risks, maximizing productivity and safety in the workplace.

Applications and Uses of Rotary Hooks in Overhead Cranes

  • Material Handling in Manufacturing Plants: Rotary hooks play a crucial role in material handling within manufacturing plants, facilitating the movement of raw materials, components, and finished products throughout the production process. From automotive factories to electronics assembly lines, rotary hooks enable efficient and precise handling of various materials, optimizing production workflows and minimizing downtime.
  • Construction and Infrastructure Projects: In the construction industry, overhead cranes equipped with rotary hooks are indispensable for lifting and positioning heavy construction materials, equipment, and structures. Whether it's erecting steel beams on high-rise buildings or transporting precast concrete elements on bridge construction sites, rotary hooks provide the lifting power and precision required for complex construction projects.
  • Shipping and Logistics Operations: Rotary hooks are integral to the smooth operation of shipping and logistics facilities, where overhead cranes are used for loading and unloading cargo containers, pallets, and bulk materials. By streamlining cargo handling processes, rotary hooks enhance the efficiency of port terminals, warehouses, and distribution centers, enabling seamless movement of goods and reducing turnaround times.
  • Heavy Industry Applications (e.g., Steel Mills, Mining): Heavy industries such as steel mills and mining operations rely on overhead cranes equipped with robust rotary hooks to handle massive loads such as steel coils, machinery components, and ore materials. Rotary hooks withstand the harsh environments and rigorous demands of heavy industry applications, providing reliable lifting solutions for essential operations.
  • Warehousing and Distribution Centers: In warehousing and distribution centers, rotary hooks facilitate the efficient storage and retrieval of goods from high shelves and racks. Overhead cranes equipped with rotary hooks enable operators to handle palletized loads, containers, and other storage units with precision and speed, optimizing space utilization and order fulfillment processes.
  • Automotive Manufacturing and Assembly Lines: Rotary hooks play a vital role in automotive manufacturing and assembly lines, where overhead cranes are used for lifting and transporting vehicle components, chassis, and finished vehicles. By providing precise control and maneuverability, rotary hooks contribute to the seamless flow of production, ensuring timely delivery of vehicles to market.
  • Aerospace Industry for Aircraft Assembly and Maintenance: In the aerospace industry, rotary hooks are essential for aircraft assembly, maintenance, and repair operations. Overhead cranes equipped with rotary hooks enable technicians to lift and position aircraft components, engines, and fuselage sections with precision and safety, supporting the meticulous craftsmanship required in aerospace manufacturing.
  • Entertainment Industry for Stage Rigging and Set Construction: In the entertainment industry, rotary hooks are utilized in stage rigging and set construction for theaters, concert venues, and film studios. Overhead cranes with rotary hooks provide the lifting power and versatility needed to suspend lighting rigs, sound equipment, and set pieces, enhancing the production value of live performances and film productions.

In conclusion, rotary hooks in overhead cranes find diverse applications across a wide range of industries, from manufacturing and construction to shipping, heavy industry, warehousing, automotive, aerospace, and entertainment. Their versatility, reliability, and precision make them indispensable tools for powering industrial operations and supporting the seamless movement of goods and materials.

Maintenance and Inspection Practices for Rotary Hooks in Overhead Cranes

  • Regular Inspection Schedule: Implementing a regular inspection schedule is crucial for detecting potential issues early and preventing costly downtime. Routine inspections should include visual checks of the hook body, bearing assembly, safety latch, and sheave assembly for signs of wear, damage, or corrosion. Additionally, functional tests should be conducted to ensure proper operation of safety features and lifting mechanisms.
  • Lubrication Requirements: Proper lubrication is essential for maintaining the smooth operation of rotary hooks and prolonging their service life. Lubricants should be applied to bearings, sheaves, and other moving parts according to manufacturer recommendations. Regular lubrication helps reduce friction, prevents corrosion, and extends the lifespan of components, ensuring optimal performance of the crane system.
  • Wear and Tear Detection: Regular inspection and monitoring of wear and tear are essential for identifying potential issues before they escalate into major problems. Signs of wear such as deformation, cracks, or excessive corrosion should be addressed promptly to prevent safety hazards and equipment failure. Monitoring wear patterns and conducting non-destructive testing can help assess the condition of critical components and determine the need for repair or replacement.
  • Repair and Replacement Guidelines: When maintenance inspections reveal damage or wear beyond acceptable limits, prompt repair or replacement is necessary to ensure the continued safe operation of the crane system. Repair procedures should be carried out by qualified technicians following manufacturer guidelines and industry best practices. In cases where components are irreparably damaged or worn, timely replacement with genuine OEM (Original Equipment Manufacturer) parts is essential to maintain the integrity and reliability of the crane system.
  • Compliance with Industry Standards: Adhering to industry standards and regulations is paramount for ensuring the safety and compliance of crane operations. Operators should familiarize themselves with relevant standards such as OSHA (Occupational Safety and Health Administration) and ANSI (American National Standards Institute) guidelines governing the design, operation, and maintenance of overhead crane systems. Compliance with these standards not only mitigates safety risks but also helps protect against potential liability and regulatory penalties.

In summary, implementing comprehensive maintenance and inspection procedures is essential for ensuring the reliability, safety, and compliance of rotary hooks in overhead crane operations. By adhering to regular inspection schedules, lubrication requirements, wear detection practices, repair guidelines, and industry standards, operators can optimize the performance and longevity of crane systems, minimizing downtime and enhancing workplace safety.

Safeguarding Operations: Prioritizing Safety in Crane Rotary Hook Usage

  • Training Requirements for Crane Operators: Proper training is essential for crane operators to understand the safe operation of overhead cranes equipped with rotary hooks. Operators should undergo comprehensive training programs covering crane operation, load handling techniques, safety protocols, and emergency procedures. Training should be conducted by qualified instructors and include both theoretical knowledge and practical hands-on experience.
  • Load Handling Best Practices: Adhering to load handling best practices is crucial for preventing accidents and ensuring the safe movement of loads using rotary hooks. Operators should carefully assess load characteristics such as weight, size, shape, and center of gravity before lifting. Proper rigging techniques, including selecting appropriate slings or chains and ensuring proper load attachment, are essential for maintaining load stability and preventing shifting or falling during lifting operations.
  • Risk Assessment and Hazard Mitigation: Conducting thorough risk assessments is essential for identifying potential hazards and implementing appropriate mitigation measures to minimize risks. Factors such as workplace environment, load characteristics, crane configuration, and operational conditions should be considered in risk assessments. Mitigation measures may include implementing safety protocols, establishing exclusion zones, installing safety barriers, and providing adequate signage and warnings to alert personnel of potential hazards.
  • Personal Protective Equipment (PPE) Recommendations: Personal protective equipment (PPE) plays a vital role in ensuring the safety of crane operators and personnel working in proximity to crane operations. Recommended PPE may include hard hats, safety glasses, high-visibility clothing, gloves, and steel-toed boots to protect against potential hazards such as falling objects, impact, and crushing injuries. Additionally, operators should be trained in the proper use and maintenance of PPE to ensure its effectiveness in preventing injuries.

In summary, prioritizing safety considerations in crane rotary hook usage is essential for protecting personnel, preventing accidents, and promoting a safe work environment. By ensuring proper training for crane operators, adhering to load handling best practices, conducting risk assessments, implementing hazard mitigation measures, and providing appropriate personal protective equipment, organizations can minimize risks and ensure the safe and efficient operation of overhead crane systems.

Troubleshooting Guide: Addressing Common Issues in Crane Rotary Hooks

Hook Misalignment:

Symptoms: Uneven wear on the hook body, difficulty in engaging the load, or abnormal noise during lifting operations.

Causes: Improper installation, misalignment of crane components, or damage to the hook assembly.

Solutions:

  • Inspect and realign the hook assembly according to manufacturer specifications.
  • Check for any obstructions or debris that may be interfering with the hook's movement.
  • Conduct regular maintenance to ensure proper alignment and functionality.

Bearing Failure:

Symptoms: Increased friction, unusual noises, or difficulty in rotating the hook during lifting operations.

Causes: Lack of lubrication, contamination, or wear and tear of bearing components.

Solutions:

  • Replace worn or damaged bearings with genuine OEM parts.
  • Implement a regular lubrication schedule using recommended lubricants.
  • Monitor bearing condition during routine inspections and replace as needed to prevent catastrophic failure.

Safety Latch Malfunction:

Symptoms: Failure of the safety latch to engage or disengage properly, compromising load security.

Causes: Wear, corrosion, or damage to the safety latch mechanism.

Solutions:

  • Inspect the safety latch for signs of wear, corrosion, or damage.
  • Clean and lubricate the safety latch mechanism regularly to ensure smooth operation.
  • Replace worn or damaged safety latch components promptly to maintain load security.

Sheave Assembly Problems:

Symptoms: Irregular movement of the wire rope or chain, excessive friction, or binding during lifting operations.

Causes: Misalignment of sheave components, contamination, or wear and tear.

Solutions:

  • Check for proper alignment of sheave components and adjust as necessary.
  • Clean and lubricate sheave bearings regularly to reduce friction and ensure smooth movement.
  • Replace worn or damaged sheave components to prevent operational issues.

Solutions and Maintenance Tips:

  • Implement a proactive maintenance schedule to identify and address potential issues before they escalate.
  • Train crane operators and maintenance personnel in proper troubleshooting techniques and maintenance procedures.
  • Keep detailed maintenance records and document any repairs or replacements performed on crane rotary hooks.
  • Utilize genuine OEM parts and follow manufacturer recommendations for maintenance and repair to ensure the integrity and reliability of the crane system.

In summary, troubleshooting common issues in crane rotary hooks requires a systematic approach and regular maintenance to ensure optimal performance and safety. By identifying symptoms, addressing root causes, and implementing preventive maintenance measures, operators can minimize downtime, extend the lifespan of crane components, and enhance workplace safety.

Embracing the Future: Trends and Innovations in Crane Rotary Hooks

  • Advances in Material Science: As material science continues to evolve, we can expect to see the development of new materials and alloys with enhanced strength, durability, and corrosion resistance. These advancements will enable the manufacture of crane rotary hooks that can withstand higher loads and operate in challenging environments with improved reliability and longevity.
  • Digital Monitoring and Predictive Maintenance: The integration of digital monitoring technologies and predictive maintenance algorithms will revolutionize how crane rotary hooks are maintained and serviced. Real-time monitoring of hook performance metrics, such as load capacity, operating temperature, and wear levels, will enable proactive maintenance interventions to be carried out before issues arise, minimizing downtime and optimizing performance.
  • Integration with Crane Automation Systems: The rise of automation in industrial settings will drive increased integration of crane rotary hooks with advanced crane automation systems. Automated hook positioning, load detection, and intelligent control algorithms will enhance the efficiency and precision of crane operations while reducing the need for manual intervention. This trend will enable safer and more productive lifting operations in diverse industries.
  • Sustainability Initiatives in Hook Design and Manufacturing: Sustainability considerations will play a growing role in the design and manufacturing of crane rotary hooks. Manufacturers will prioritize environmentally friendly materials and production processes, as well as design hooks for optimal energy efficiency and resource conservation. Additionally, efforts will be made to enhance the recyclability and end-of-life disposal of crane hook components, contributing to a more sustainable crane industry.

In summary, the future of crane rotary hooks will be characterized by advancements in material science, digital monitoring, automation integration, and sustainability initiatives. By embracing these trends and innovations, the crane industry will continue to evolve towards safer, more efficient, and environmentally friendly lifting solutions, meeting the needs of modern industrial operations.

Case Studies and Applications of Crane Rotary Hooks

  • Crane Hook Failures and Lessons Learned: Exploring instances of crane hook failures provides valuable insights into potential risks and hazards associated with crane operations. By analyzing root causes and identifying lessons learned from past failures, operators can implement preventive measures to mitigate similar risks in the future. Case studies of crane hook failures serve as educational tools for promoting safety awareness and improving operational practices.
  • Successful Implementation of Maintenance Programs: Case studies highlighting the successful implementation of maintenance programs offer valuable lessons on proactive maintenance strategies and best practices. By showcasing real-world examples of organizations that have achieved significant improvements in crane reliability and uptime through effective maintenance programs, operators can gain insights into optimizing their own maintenance processes and maximizing equipment performance.
  • Innovative Use Cases in Various Industries: Examining innovative use cases of crane rotary hooks across diverse industries provides inspiration for leveraging crane technology to address unique challenges and opportunities. From automated manufacturing processes to precision lifting in aerospace and entertainment applications, innovative use cases demonstrate the versatility and adaptability of crane systems in meeting evolving industry needs.
  • Customer Testimonials and Feedback: Customer testimonials and feedback offer firsthand accounts of the benefits and value that crane rotary hooks bring to businesses and operations. By sharing experiences and insights from satisfied customers, operators can gain confidence in the reliability, performance, and efficiency of crane systems equipped with rotary hooks. Customer testimonials serve as powerful endorsements of the capabilities and advantages of crane technology in real-world settings.

In summary, case studies and real-world applications of crane rotary hooks provide valuable insights into safety, maintenance, innovation, and customer satisfaction. By studying failures, successes, innovative applications, and customer experiences, operators can enhance their understanding of crane technology and its potential to drive efficiency, safety, and productivity in diverse industrial environments.

50 Ton Rotary Crane Hook Main Parts and Components Presentation

Conclusion

Throughout this comprehensive guide, we've explored the fundamental components, operational mechanics, safety considerations, and real-world applications of crane rotary hooks. From understanding the anatomy of rotary hooks to troubleshooting common issues and exploring future trends, we've covered essential aspects to enhance efficiency, safety, and reliability in crane operations.

Proper maintenance and operation of crane rotary hooks are paramount for ensuring safe and efficient lifting operations. By adhering to regular inspection schedules, implementing preventive maintenance measures, and prioritizing safety protocols, operators can minimize risks, optimize performance, and extend the lifespan of crane systems.

The future of crane rotary hooks is marked by advancements in material science, digital monitoring, automation integration, and sustainability initiatives. As technologies continue to evolve, crane rotary hooks will become more reliable, efficient, and environmentally friendly, driving innovation and productivity in various industries.

For further information and resources on crane rotary hooks, operators can refer to industry standards, manufacturer guidelines, and educational materials provided by professional organizations such as OSHA, ANSI, and crane manufacturers. Additionally, ongoing research and development efforts in the field of crane technology offer valuable insights and opportunities for continuous improvement.

In conclusion, crane rotary hooks play a critical role in powering industrial operations, enabling the safe and efficient movement of heavy loads. By embracing best practices, leveraging technological advancements, and prioritizing safety, operators can unlock the full potential of crane rotary hooks, driving productivity, reliability, and sustainability in the workplace.

150 Ton Overhead Crane Installation Feedback – Paraguay Case

QDX 150 ton overhead crane in action in Paraguay. Installation photos, video, and client feedback show performance, safety, and heavy-lifting efficiency.


Free consultation to Confirm Parameters & Specifications and Get

Latest Crane Price & Crane Rate.

  • Types of overhead cranes : _______?
  • Optional: Overhead travelling crane, goliath gantry crane,Slewing jib crane, Single girder or double girder crane,small portable crane or kbk crane, etc.
  • Capacity of overhead crane: _______?
  • Optional: 0.25ton, 0.5 ton, 1 ton, 2 ton, 3ton, 5 ton, 10 ton,15ton, 20ton, 25 ton, 30ton,35ton, up to 550ton, etc.
  • Crane span & lifting height : _______?
  • Crane travelling length : _____?
  • Control of overhead crane:_______?
  • Optional: pendant/ remote/cabin control
  • Voltage supply of overhead crane:_____?
  • Eg,: 380V50/60HZ,3Phase or others,etc.
  • Application/usage of crane:_______?
  • Eg,: Steel mill, ,injection mold, cement,stone, concrete,granite, general manufacturing, etc.
  • Just leave a message via the contact form and our hoist and crane engineer will contact you with in 24working hours.

Get In Touch

Feel Free
to Contact With us